1、阀体采用优于国家标准的球墨铸铁材料进行精密铸造,抗拉强度450Mpa,延展率大于10%,不易拉裂、冻裂;不会因运输、碰撞、安装而造成断裂等现象
2、 阀体内外采用粉沫环氧树脂静电涂装,喷涂厚度达到250μm,有效防止阀体与介质接触造成的腐蚀与生锈,并可用于污水系统;
3 、阀板采用EPDM橡胶进行整体包覆,含胶量达到50%,且橡胶与球墨铸铁闸板连接牢靠,不易脱落及弹性记忆佳,从而保证阀门密封性能稳定;
4、 阀杆为2Cr13材料并采用三“O”型环密封圈设计。可减少开关时的摩擦阻力,避免介质外漏及可以不停水施工更换密封圈;
5、阀杆螺母和定位装置采用黄铜材料,开关更顺畅,避免操作过程中出现的卡阻现象;
6、从毛坯到成品包装出厂每个环节层层质检
产品配置:法兰连接,德标F4,PN16,暗杆,双盖,阀体阀瓣:球墨铸铁,阀座:三元乙丙,轴:2Cr13,手轮操作;

| 名称 | 设计及制造 | 结构长度 | 试压标准 | 连接法兰尺寸 | |
| 参照标准 | DIN 3352 | DIN 3202 | DIN 3230 | DIN EN 1092 | |
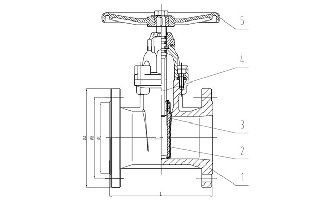
| 名称 | 1-阀体 | 2-阀座密封 | 3-阀瓣 | 4-阀轴 | 5-手轮 |
| 材质及说明 | 球墨铸铁DI | EPDM | 球墨铸铁DI+EPDM | 2Cr13 | DI |
| 公称尺寸 | 结构长度F4 | PN16 | |||
| DN | NPS(英寸) | L | ΦA | ΦB | ΦC |
| 50 | 2'' | 150 | 165 | 125 | 102 |
| 65 | 2 1/2'' | 170 | 185 | 145 | 122 |
| 80 | 3'' | 180 | 200 | 160 | 138 |
| 100 | 4'' | 190 | 220 | 180 | 158 |
| 125 | 5'' | 200 | 250 | 210 | 188 |
| 150 | 6'' | 210 | 285 | 240 | 212 |
| 200 | 8'' | 230 | 340 | 295 | 268 |
| 250 | 10'' | 250 | 405 | 355 | 320 |
| 300 | 12'' | 270 | 460 | 410 | 378 |
| 350 | 14'' | 290 | 520 | 470 | 438 |
| 400 | 16'' | 310 | 580 | 525 | 490 |
| 450 | 18'' | 330 | 640 | 585 | 550 |
| 500 | 20'' | 350 | 715 | 650 | 610 |
| 600 | 24'' | 390 | 840 | 770 | 725 |
| 700 | 28'' | 430 | 910 | 840 | 795 |
| 800 | 32'' | 470 | 1025 | 950 | 900 |
| 900 | 36'' | 510 | 1125 | 1050 | 1000 |
| 1000 | 40'' | 550 | 1255 | 1170 | 1115 |
| 1200 | 48'' | 630 | 1485 | 1390 | 1330 |